双五星
输电导线及输电导线接续管直流融冰滑动式短接操控系统
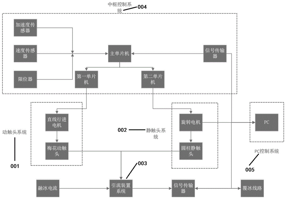
本发明涉及输电线路接续管运行维护技术领域,具体为输电导线及输电导线接续管直流融冰滑动式短接操控系统,包括:杆塔,杆塔上方设有铁塔横担,铁塔横担顶部设有接续管,铁塔横担边缘设有直线轨道;还包括:动触头系统;静触头系统,静触头系统和动触头系统接触形成回路,产生融冰电流;引流装置系统,引流装置系统用于将融冰电流输送至接续管上;中枢控制系统;PC控制系统。本发明,静触头系统在未工作状态下在输电线路接续管铁塔横担下侧固定,通过旋转电机驱动静触头系统运动到动触头系统正上方,采取滑动式方法,提高了动静触头接触的准确性;在未工作状态下,静触头系统固定安装在铁塔横担下端保持固定,在未工作状态下保持装置稳定。
东北电力大学
授权发明