高端装备制造
输电铁塔主材角钢轴力与弯矩协调加载装置及测量方法
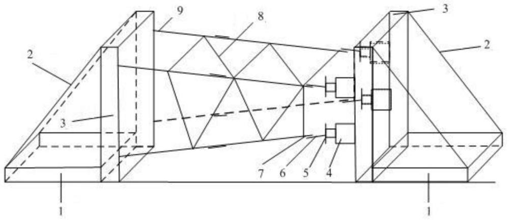
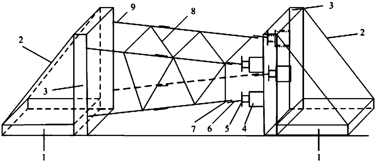
本发明公开了一种输电铁塔主材角钢轴力与弯矩协调加载装置及测量方法,涉及输电铁塔主材角钢轴力与弯矩协调加载方法和装置以及测量方法技术领域。所述装置包括左右两个竖直固定在地面上的反作用力墙,其中的一个反作用力墙的内侧安装有四个液压缸,液压缸动力输出端上固定有刚性连接板,所述刚性连接板上固定有连接角钢,连接角钢分别与铁塔模型四根主材角钢的一端通过螺栓固定连接,铁塔模型四根主材角钢的另一端与另一个反作用力墙固定连接,连接角钢与主材角钢之间设有垫层;每根主材角钢的两肢上按一定规律粘贴4个应变片。所述装置通过对主材角钢的偏心加载,实现在输电铁塔主材角钢上轴力与弯矩的协调加载。
国网吉林省电力有限公司电力科学研究院
授权发明