双五星
一种仿长足大竹象翅翼展开机理的Z型折叠翼
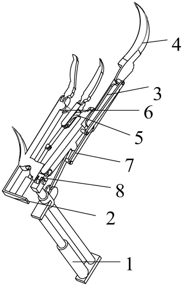
本发明属于扑翼式飞行器设计领域,具体涉及一种仿长足大竹象翅翼展开机理的Z型折叠翼。本发明包括与飞行器本体连接的第一动力装置、与动力装置的输出端固定连接的前翅组件、安装在前翅组件上的中翅组件、与中翅组件转动连接的后翅组件以及设置在前翅组件、中翅组件以及后翅组件上的用于带动翅翼展开收合的连杆机构;本发明基于长足大竹象翅翼展开机理的Z型折叠翼,前翅组件、中翅组件以及后翅组件在连杆机构和两个动力装置的作用下,实现前翅、中翅和后翅的折展运动;在两个弧形展开杆的作用下,使整个折叠翼折叠方便,利于隐藏,减少空间占有,并且可应用于微型扑翼飞行器上,在民用和军事领域具有广阔的应用前景。
吉林农业大学
授权发明