材料化工
一种高强度、高韧性的球墨铸铁及其制备方法与应用
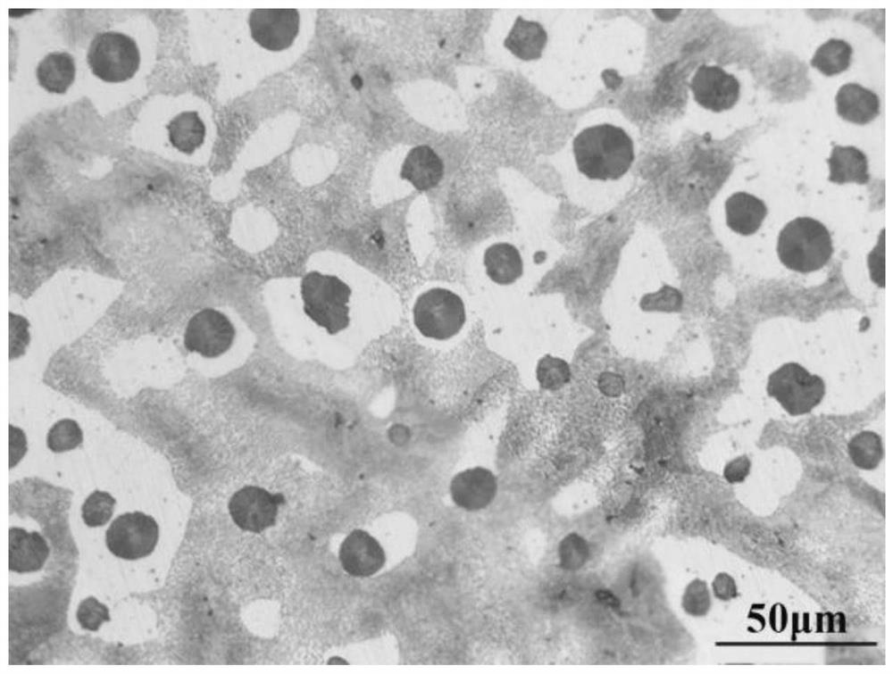
本发明公开了一种高强度、高韧性的球墨铸铁,按质量百分数计,所述球墨铸铁中包含以下组分:C:3.5~3.7%、Si:2.6~2.8%、Mn:0.2~0.4%、Cu:0.35~0.6%、Cr:0.03~0.06%、Sn:0.006~0.01%、Sb:0.002~0.006%、Mg:0.03~0.05%、Ti:0.03~0.05%、P<0.05%、S<0.018%,余量为Fe和不可避免的杂质;其中,Cu+Cr与Sn+Sb+Ti的质量比为10:1,4.3%≤C+0.3Si≤4.5%。本发明还提供了所述高强度、高韧性的球墨铸铁的制备方法。本发明制备的球墨铸铁,具有很好的强度和韧性,抗拉强度达到765~890MPa,屈服强度达到520~590MPa,伸长率大于10%,可代替QT450‑10球墨铸铁来制备汽车轮毂支架产品,具有重要的应用价值。
长春工业大学
授权发明