高端装备制造
一种基于压电作动器的长焦距推扫相机装置
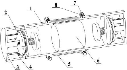
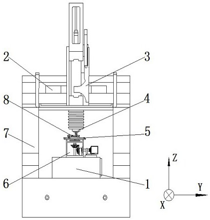
本发明涉及一种基于压电作动器的长焦距推扫相机装置,属于航拍无人机长焦距推扫相机领域。流线型外壳与无人机通过螺栓紧固连接,承载框架与流线型外壳焊接连在一起,承载框架通过八个抗压伸隔振阻尼器与长筒推扫装置相连,入光玻璃镶嵌在承载框架上,长筒推扫装置前端与可转动隔振平台通过螺栓紧固连接,长筒推扫装置后端与可转动隔振平台紧固连接,两个可转动隔振平台分别固定在承载框架内。优点是结构新颖,采用压电作动器作为动力源进行液压驱动对反射镜角度进行调节,在保证精度的同时减少了装置的重量及能耗,解决角振动及线振动给装置成像带来的影响,通过压电俘能装置为储能蓄电池存入电能,增加续航时间。
长春工业大学
授权发明