双五星
稀土掺杂上转换@二氧化硅纳米复合棒及其制备方法
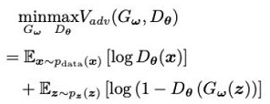
本发明公开了稀土掺杂上转换@二氧化硅纳米复合棒,它是由下述方法制备的:1)将聚乙烯吡咯烷酮的戊醇溶液、柠檬酸钠水溶液、氨水、水、烷基溴化铵的乙醇溶液、正硅酸乙酯按照体积比500:5:10:10:20:5~500:5:15:15:50:5混合均匀;加入质量浓度为0.5%~6%的稀土掺杂上转换纳米粒子;在4~135℃下搅拌10分钟~17小时;离心洗涤,得到稀土掺杂上转换@二氧化硅纳米复合棒;本发明制备方法简单、高效,能满足工业化大批量生产需求;通过调控反应中硅酸乙酯、氨水、水、无水乙醇、柠檬酸钠的水溶液和聚乙烯吡咯烷酮的戊醇溶液的含量、反应温度和时间及加入的稀土掺杂上转化纳米粒子的质量等反应参数,实现对稀土掺杂上转换@二氧化硅纳米复合棒长径比和发光性能的精确调控。
东北师范大学
授权发明