双五星
一种玻璃吸附式夹取装置
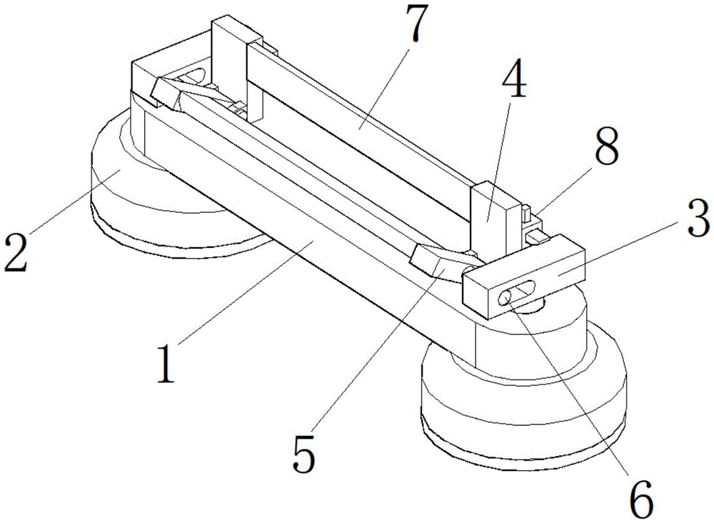
本实用新型属于玻璃安装辅助工具技术领域,尤其是涉及一种玻璃吸附式夹取装置,包括固定杆,所述固定杆的左右两端底部均设置有连接罩,连接罩的内部设置有吸附组件,所述固定杆的上端左右两侧均固定有支撑块,支撑块的正前方连接有安装块,两个所述安装块相互背离的一侧均固定有固定柱。本实用新型手掌握住两个把手,使其相互靠近,此时可使安装块带动固定柱进行顺时针方向转动并靠近支撑块,固定柱此时能够挤压顶部开设有导向槽的活动杆,使活动杆拉动连接片以及橡胶垫中部上移,使橡胶垫中部鼓起并与玻璃之间形成负压空间,两个连接罩和吸附组件的设置能够提高玻璃夹取时的稳定性,两个受力点的存在使得玻璃提起更稳定、便捷。
吉林铁道职业技术大学
实用新型