双五星
一种玉米苗期深松追肥一体机
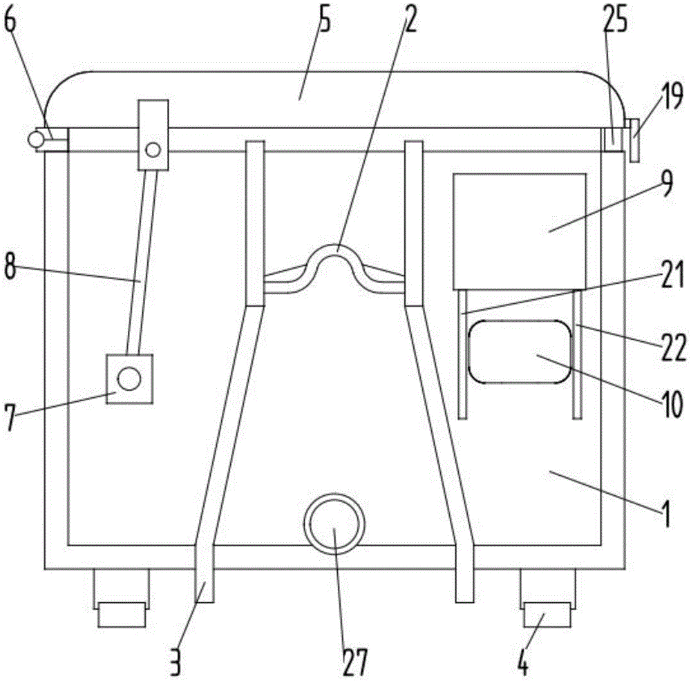
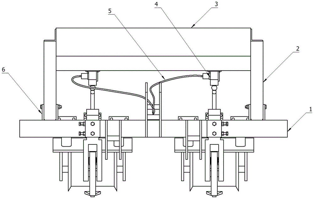
本实用新型涉及农业机械技术领域,尤其为一种玉米苗期深松追肥一体机,包括主架、肥箱安装架、施肥箱、排肥器、控制线、肥箱安装板、切土安装器、粗切土安装架、粗切盘、细切土安装架、细切盘、铲库、深松施肥铲、下肥管、阶梯型安装板、U型卡子、镇压轮安装架和镇压轮,本实用新型通过设计设计一种苗期深松追肥一体机,深松施肥铲位置可调、肥量精准调节、对土壤扰动小,符合保护性耕作要求,同时能有效打破犁底层,促进根系下扎,有利于提高农田水分利用率以及提高产量,以及通过将苗期深松作业与肥料施用技术有机结合起来,有利于提高东北免耕保护性耕作下春季播种时的土壤温度以及肥料的利用率,实现了农机农艺结合,利于农业可持续发展。
吉林市农业科学院(吉林市农产品质量监督检验中心)
实用新型