双五星
一种用于影视MV拍摄与户外拍照的圆盘形柔光补光灯
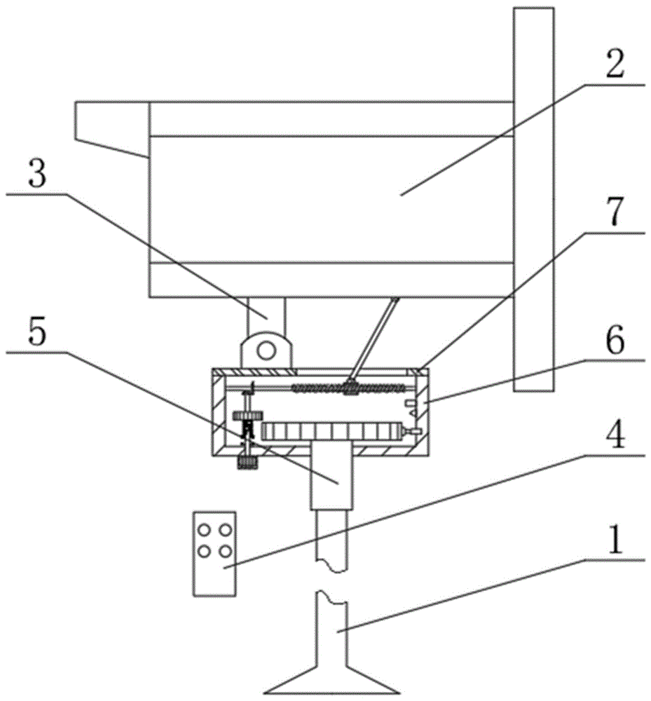
本实用新型公开了一种用于影视MV拍摄与户外拍照的圆盘形柔光补光灯,包括支撑杆和补光灯体,所述支撑杆的顶端外侧固定连接有连接筒,所述连接筒的外侧设置有调节机构,所述调节机构的顶端转动连接有连接板,所述连接板的顶端固定连接有补光灯体,所述支撑杆的一侧设置有遥控器,通过设置的端盖、调节杆、滑块、调节螺杆、第一锥齿轮、第二锥齿轮,需要对补光灯体上下方向的照射角度进行调节时,在第一锥齿轮与第二锥齿轮的相对作用下可以使补光灯体上下方向转动,不需要人工手动操作,使补光灯体的照射方向在调节时,摄像师可以通过摄像设备确认补光灯体补光的效果,从而实时确定补光灯体的照射角度。
长春光华学院
实用新型