高端装备制造
一种抗拉短钢筋加工装置
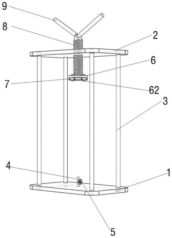
本发明涉及一种抗拉短钢筋加工装置,包括机架,其顶部中间具有螺纹孔,螺纹孔内配合有螺纹转动部;机架底部具有与螺纹孔处于同一轴线方向布置的第一固定机构,用于固定钢丝底端和钢筋芯;螺纹转动部底部耦合有用于固定钢丝顶端的第二固定机构;螺纹转动部顶端连接有用于钢丝施加预应力的预应力施加部,转动预应力施加部带动螺纹转动部转动,将钢丝逐圈包裹缠绕于钢筋芯上,根据预应力施加部转数计算纵向位移,确定钢丝的预应力度。本发明通过第一固定机构带动钢丝逐圈包裹缠绕于钢筋芯上,根据预应力施加部转数计算纵向位移,确定钢丝的预应力度,保证了抗拉短钢筋加工过程中夹紧力的稳定性,提高了抗拉短钢筋加工效率。
吉林建筑大学
授权发明