双五星
一种肥料生产用发酵容器
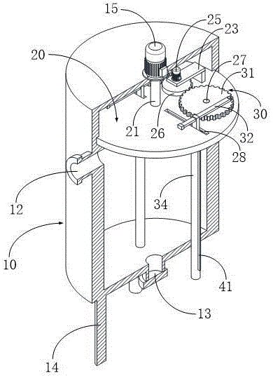
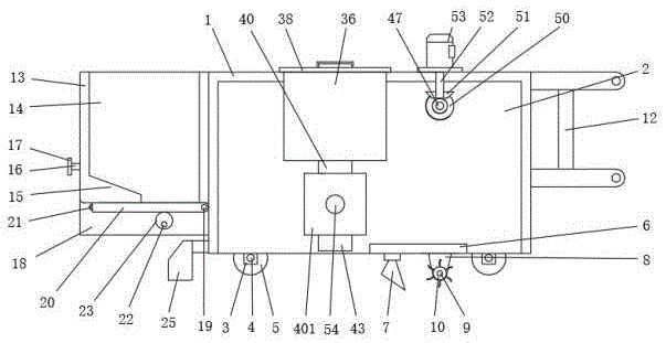
本发明涉及肥料生产技术领域,具体为一种肥料生产用发酵容器。本发明通过在发酵罐体内设置搅拌组件和刮除组件,可以有效地解决现有的发酵容器因部分肥料附着在内壁上而清理困难的问题,将第一齿轮设置为半齿轮结构,这使得搅拌轴移动到靠近发酵罐体内壁时会有半圈的停顿,在第一齿条与第三齿轮、第二齿条与第四齿轮的配合下,刮板会从第五滑动槽内移出,并与发酵罐体的内壁抵接,而转盘会带动搅拌轴和刮板以第一转轴为圆心进行圆周转动,该设置不仅能够刮除发酵罐体内壁上的肥料,使得发酵罐体的清理更加容易,还能对发酵罐体内的肥料进行搅拌,第二齿轮还会带动搅拌轴沿第二滑动槽移动,使得发酵罐体内部都能被搅拌,大大提升了肥料的发酵效率。
吉林市农业科学院(吉林市农产品质量监督检验中心)
授权发明