材料化工
一种高效的超声振动辅助成型钽电容压制设备
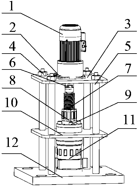
本发明公开一种高效的超声振动辅助成型钽电容压制设备,以解决钽电容器在加工过程中重复定位导致加工过程复杂、传统的压制装置结构复杂、加工过程耗费大量人力物力、压制密度分布不均匀等问题。本发明由电机、固定螺栓、固定板、螺母、支撑杆、联轴器、丝杠、减摩螺母、紧固螺栓、压板、振动模具组件和底座组成。本发明公开的钽电容压制设备应用电机带动压板进而起到压制钽粉的作用,并利用超声减摩原理,使钽粉在高频振动的条件下分布均匀,以达到钽芯密度分布均匀以及减小丝杠与减摩螺母之间的摩擦的目的。本发明具有结构简单集成、压制效果优良、成本低等技术优势,在钽电解电容加工领域有着广泛的应用前景。
长春工业大学
授权发明