生物医药
用于微生物检测的土壤储存与冻干的样品瓶及其检测方法
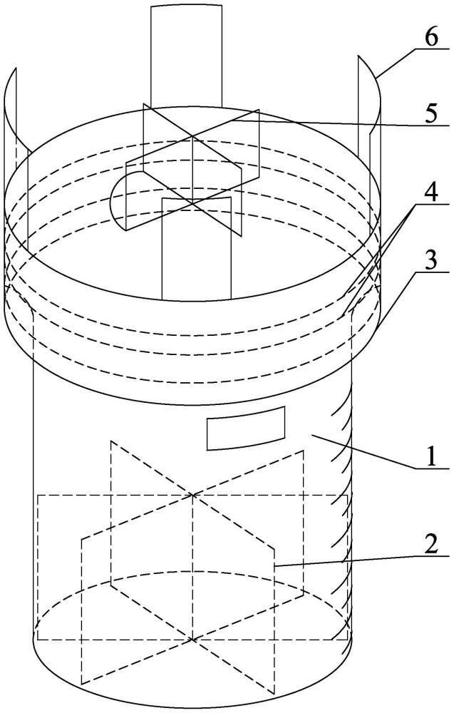
用于微生物检测的土壤储存与冻干的样品瓶及其检测方法,它涉及土壤样品前处理技术领域。本发明为解决现有样品冻干过程中出现的土壤粉末易被真空泵抽出,造成样品损失,同时污染真空干燥机腔体,甚至损伤真空泵的问题。本发明包括样品储存瓶、分隔板、瓶盖、瓶盖旋钮和两个瓶盖内嵌板,分隔板设置在样品储存瓶内,瓶盖套装在样品储存瓶瓶口的外侧,瓶盖的上端面上设有一组瓶盖通孔,瓶盖上端面的中部转动连接有瓶盖旋钮,瓶盖旋钮上固接有盖板,盖板设置在瓶盖通孔的外侧,瓶盖的内侧平行嵌装有两个瓶盖内嵌板,瓶盖内嵌板上的一侧设有一组内嵌板通孔,两个瓶盖内嵌板上的内嵌板通孔交错设置。本发明用于土壤微生物检测。
中国科学院东北地理与农业生态研究所
授权发明