生物医药
一种医疗超声探头隔离膜辅助上膜的撑膜装置
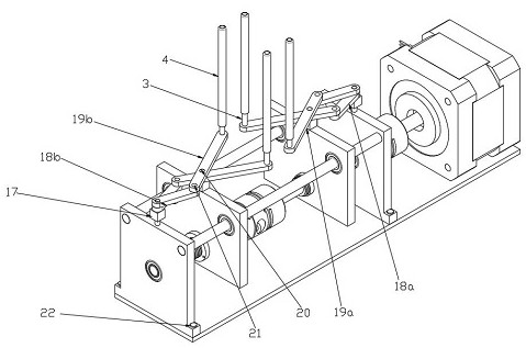
本实用新型公开了一种医疗超声探头隔离膜辅助上膜的撑膜装置,属于医疗器械技术领域,旨在解决医护人员手动撑膜的问题。医疗超声探头隔离膜辅助上膜的撑膜装置,包括撑膜爪、保护膜、进给系统、曲柄连杆机构。本实用新型提供的撑膜装置,通过进给系统的步进电机驱动,步进电机的正反转实现撑膜爪的张开与收缩,当撑膜爪进入到隔离膜内时,撑膜爪上的保护套接触到隔离膜时,撑膜爪停止张开;当撑膜爪把隔离膜从安装盒中取出时,撑膜爪继续张开至超声探头可以进入时停止张开,待隔离膜被取下后,撑膜爪收缩并返回初始位置,等待第二次撑膜。本实用新型结构紧凑,能实现对不同尺寸的超声探头自动撑膜,降低医护人员劳动强度,提高工作效率。
长春工业大学
实用新型