高端装备制造
小直径钢管对接焊缝全位置自动焊接装置
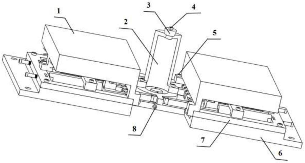
本发明涉及一种小直径钢管对接焊缝全位置自动焊接装置,属于材料成型及控制技术领域。安装法兰直线轴承的钢板之间夹持钢套组成两套滚轮支架,通过光轴穿入法兰直线轴承中进行定位及移动,正反牙丝杠与法兰螺母用于调整对接焊缝间隙。每套滚轮支架上的三只滚轮用于夹持钢管,根据钢管直径调整顶紧滚轮位置。步进电动机通过同步带拖动滚轮旋转,实现焊接装置绕钢管旋转,实现全位置焊接。焊枪及横、纵向滑移台通过连接部件固定于弧形滑轨和弧形齿条上,弧形滑轨和弧形齿条固定于钢板上,实现焊枪的倾角调整及横、纵向移动以及横向摆动焊接。提高了焊接质量及焊接生产效率,实现了小直径钢管对接焊缝全位置自动焊接。实用性强。
长春工业大学
授权发明