高端装备制造
一种大空间五轴非球面精密抛光机床
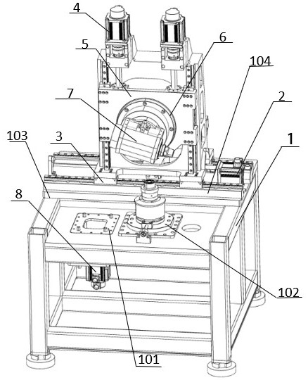
一种大空间五轴非球面精密抛光机床,属于光学零件加工设备技术领域,包括机架、主轴水平控制单元、主轴水平移动平台、抛光头升降单元、主轴竖直移动平台、抛光头旋转控制单元、主轴控制单元、工件轴控制单元,该方案中抛光头旋转轴带动主轴绕X轴转动,可以实现大角度旋转,主轴水平控制单元带动主轴在水平方向平动,使抛光主轴有更大的工作空间,可加工非球面的非球面度尽可能的大。在本发明中,通过控制系统控制按键可调节抛光主轴电机驱动抛光头的转速以及工件轴电机驱动工件的转速,在工件上输送抛光液,抛光头与工件轴的差速运动可以实时更新抛光区域内的抛光液成分。与现有技术相比,本发明的工作空间大,能够加工较为复杂的非球面。
长春工业大学
授权发明