高端装备制造
空间三坐标法检测火炮身管射击状态下指向性装置及方法
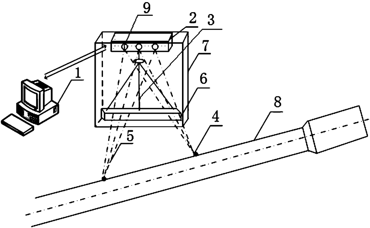
空间三坐标法检测火炮身管射击状态下指向性装置及方法属于火炮动态参数测量技术领域,装置包括计算机、光学位移传感器、光学位移传感器支架、红外发射标识点、红外光源、气浮隔振平台、冲击波防护罩。气浮隔振平台和冲击波防护罩有效缓解了火炮射击所引起的剧烈振动和对地面产生的冲击波,提高了测量的稳定性和准确性。本发明通过实时获取事先在火炮身管放置的可发射红外光源的刚体标识点的三维空间坐标,同时通过系统匹配软件对测量结果进行数值分析处理,从而实现对火炮身管指向状态进行较为全面的检测,其优点是测量精度高、抗干扰能力强、测量过程简单易行、非接触、速度快并且适合射击现场使用。
长春理工大学
授权发明